Экстерьерные жалюзи Cetta 80
Наиболее распространенным типом экстерьерной солнцезащиты являются жалюзи Cetta 80, которые, благодаря своему внешнему виду, рекомендуются для семейных коттеджей. Ламели шириной 8 см имеют С-образную форму. Наружные жалюзи Cetta отличаются высокой вариабельностью исполнения. Для систем Flexi и Slim характерна низкая высота пакета, а система Duo позволяет автономно управлять верхней и нижней частями жалюзи одновременно.
Жалюзи Cetta 80, имеющие загибы по всей длине ламелей, отличаются устойчивостью к ветреным погодным условиям и прочностью на сжатие. Для рабочих кабинетов, учебных помещений и конференц-залов рекомендуем систему жалюзи Duo, у которых отдельно регулируется наклон верхней и нижней части. Алюминиевые направляющие шины обеспечивают стабильность жалюзи в ветреную погоду, а также являются дополнительным охранным элементом, предохраняющим против насильственного проникновения в объект.
Наружная солнцезащитная техника помогает создать оптимальную среду интерьера с учетом световых и тепловых условий, кроме того, она является существенным фактором экономии энергозатрат целого объекта. В традиционном восприятии наружные жалюзи выполняют солнцезащитную и охранную функцию, в расширенном– являются архитектурным элементом административных зданий и украшением семейных коттеджей.
Преимущества и выгоды
- нижний профиль выполнен из экструдированного алюминия,
- вариабельность исполнения: duo система, slim система, flexi система,
- высокая степень затенения,
- терморегулирующий и защитный эффект,
- снижение уровня наружного шума,
- возможность электрического управления,
- гарантированная площадь до 24 м2.
Способ управления
- ручное – ручка
- электрическое – дистанционный драйвер или выключатель
Гарантированные размеры
- минимальная ширина: 600 мм
- максимальная ширина: 4000 мм (для управления ручкой, Cetta 80 Flexi — для управления мотором) / 6000* мм (для управления мотором)
- максимальная высота: 4000 мм
- максимальная площадь 8 м2 (для управления ручкой) / 16 м2 (Cetta 80 Flexi — для управления мотором) / 24 м2 (для управления мотором)
* Внимание: чем шире будет ширена жалюзи тем мене будет ветроустойчивость жалюзи – см. ветроустойчивость указанную ниже.
Нестандартные размеры не изготавливаем.
Teхнические параметры
Чертеж ламелей Cetta 80


*для максимальной ширины 4000 мм
Цветовое исполнение

Основные цвета RAL -ламели Cetta 80

Цвета RAL за дополнительную оплату — ламели Cetta 80

Основные цвета RAL для ламелей Cetta 80 — Flexi

Цвета RAL за дополнительную оплату — ламели Cetta 80 — Flexi

Цвета Isotra System Ddecoral 1 за дополнительную оплату (короб, направляющие шины, кронштейны направляющих шин, верхний + нижний профиль)

Цвета Isotra System Ddecoral 2 за дополнительную оплату (короб, направляющие шины, кронштейны направляющих шин, верхний + нижний профиль)

Цветовая гамма коротая здесь указана только ориентировочная. Если хотите покраску увидеть закажите образец цветовой гаммы. В случае что покраска товара не соответствует с рисунком на нашем сайте не будем согласовать при рекламации.
Варианты исполнения Cettа 80
Slim система
- сниженная высота пакета,
- специфическое складывание ламелей (боковая поочередная нахлестка соседних ламелей), возможность управления направляющими шинами,
- рекомендуется при органиченном пространстве для пакета.
Duo система
- одновременное автономное управление верхними и нижними ламелями жалюзи,
- повышенная вариабельность затенения,
- рекомендуется для административных зданий, учебных помещений и конференц-залов.
Flexi система
- сниженная высота пакета, благодаря применению ламелей без продольного изгиба,
- рекомендуется для установки в места с ограниченным пространством для пакета.
Варианты установки
Основные виды установки
- в отверстие (потолок / стена)
- в переплет оконной рамы (потолок / стена)
- в расширяющийся профиль окна (потолок / стена)
Чертеж ламелей Cetta 80 Flexi


Варианты установки
Основные виды установки
- в отверстие (потолок / стена)
- в переплет оконной рамы (потолок / стена)
- в расширяющийся профиль окна (потолок / стена)



У этих видов установки возможны два варианта исполнения: короб видимый / короб встроенный в изоляцию или фасад.
Нестандартная установка
- самонесущее исполнение (жалюзи крепятся на направляющих шинах)
- фасадное исполнение (круглый короб, установка на фасад)
- в оконную перемычку Heluz (встроенные направляющие шины)
- в оконную перемычку Porotherm (рекомендуется для самонесущих вариантов)
- установку в оконную перемычку необходимо предварительно внести в проект дома.
- Самонесущие жалюзи с внешней намоткой
Скошенные жалюзи Cetta 80F TE
- решение для затенения ассиметричных типов окон (верхняя рама расположена не горизонтально, а скошена под определенным углом)
- ламели копируют угол верхней рамы и параллельны с верхней рамой
- алюминиевые ламели управляются с помощью стального тросик
- специальный механизм выравнивает различную длину текстильных лент при опускании и подъеме жалюзи
- телескопическая нижняя планка предназначена для выравнивания разницы ширины нижней планки в нижней позиции (ширина окна) и верхней позиции (длина скошенной части окна)
- только моторное управление
- сниженная высота пакетов достигается путем применения ламелей без продольного изгиба



Стандартный размер

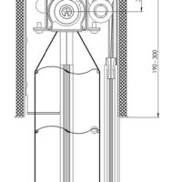
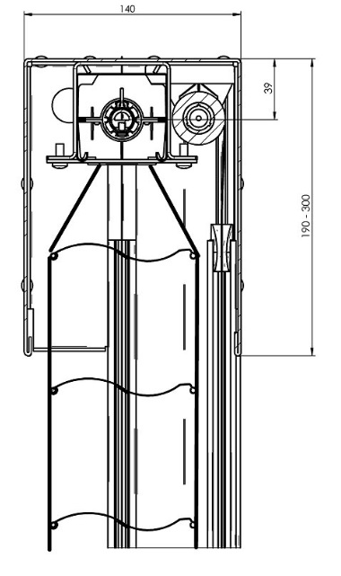
Самонесущие жалюзи с внешней намоткой Bravo

Гарантированные размеры Bravo
Cetta 80
- минимальная ширина: 600 / 720* мм
- максимальная ширина: 3500 / 1800* мм
- максимальная высота: 2200 мм
- максимальная площадь: 10,5 м2 / 3* м2
Cetta 80 Flexi
- минимальная ширина: 600 / 720* мм
- максимальная ширина: 3500 / 1800* мм
- максимальная высота: 3000 / 2500* мм
- максимальная площадь: 10,5 м2 / 3* м2
Cetta 80 Slim
- минимальная ширина: 600 / 720* мм
- максимальная ширина: 3500 / 1800* мм
- максимальная высота: 2600/ 2500* мм
- максимальная площадь: 10,5 м2 / 3* м2
*С возможностей подключение москитной сетки
Макс. высота жалюзи при высоте короба 210 мм.
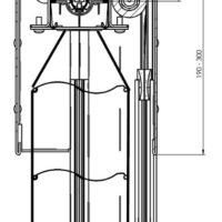
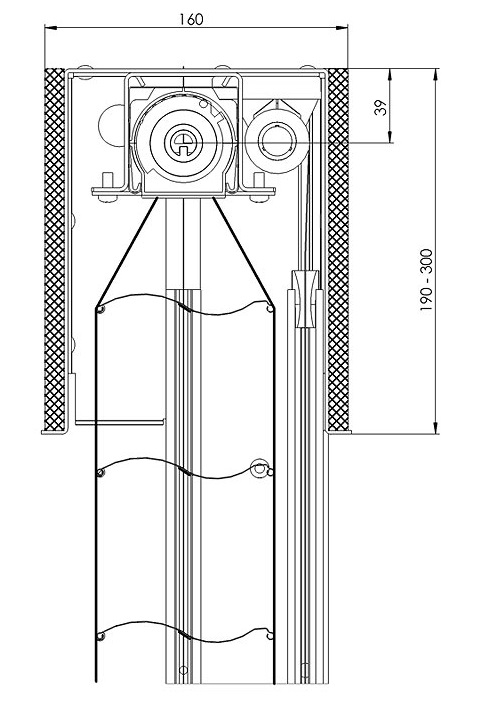
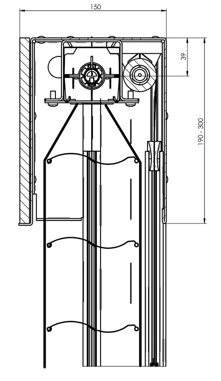
Самонесущие жалюзи Viva
Гарантированные размеры Viva
Cetta 80
- минимальная ширина: 600 / 720* мм
- максимальная ширина: 3500 / 1800* мм
- максимальная высота: 2800 / 2500* мм
- максимальная площадь: 10,5 м2 (для управления мотором) / 3* м2
Cetta 80 Flexi
- минимальная ширина: 600 / 720* мм
- максимальная ширина: 3500 / 1800* мм
- максимальная высота: 3000 / 2500* мм
- максимальная площадь: 10,5 м2 (для управления мотором) / 3* м2
Cetta 80 Slim
- минимальная ширина: 600 / 720* мм
- максимальная ширина: 3500 / 1800* мм
- максимальная высота: 3000 / 2500* мм
- максимальная площадь: 10,5 м2 (для управления мотором) / 3* м2
*С возможностей подключение москитной сетки
Макс. высота жалюзи при высоте короба 300 мм.
Cetta 80 a Cetta 80-Flexi в оконную перемычку
Гарантированные размеры для жалюзи Cetta 80 a Cetta 80-Flexi в оконную перемычку
- минимальная ширина: 600 мм
- максимальная ширина: 3850 мм
- максимальная высота: 1700 мм (Cetta 80), 4000 мм (Cetta 80 – Flexi – кабель), 2800 мм (Cetta 80 – Flexi – направляющие), 2000 мм(Cetta 80 Slim)
- максимальная площадь: 8 м2
Устойчивость против ветра
Тестирование было проведено в Центре строительного инженерного дела а.о. г.Злин в соответствии с ЧГН EN 13659.

+375 (29) 380-39-30
+375 (29) 258-58-90





